上海网野阀门制造有限公司
产品中心PRODUCT SHOW

致力于产品的良好用户体验、有效的网络营销效果而努力

ZJHQ/ZJHX 气动薄膜三通调节阀

  • ZJHQ/ZJHX气动薄膜三通调节阀采用圆筒型薄壁窗口形阀芯导向,不同于柱塞形阀芯的衬套导向。配用多弹簧执行机构,具有结构简单、重量轻、体积小、拆装方便等优点。广泛应用于精确控制气体、液体等介质的工艺参加如压力、流量、温度、液位保持在给定值。适合于把一种流体通过三通阀分成二路流出或理把两种流体经三通阀合并成一种流体的场合。
立即咨询
全国热线135 2453 5400

详情介绍

ZJHQ/ZJHX 气动薄膜三通调节阀

一、ZJHQ/ZJHX气动薄膜三通调节阀--概述

 

ZJHQ/ZJHX气动薄膜三通调节阀采用圆筒型薄壁窗口形阀芯导向,不同于柱塞形阀芯的衬套导向。配用多弹簧执行机构,具有结构简单、重量轻、体积小、拆装方便等优点。广泛应用于精确控制气体、液体等介质的工艺参加如压力、流量、温度、液位保持在给定值。适合于把一种流体通过三通阀分成二路流出或理把两种流体经三通阀合并成一种流体的场合。

本系列产品有三通合流及三通分流两种。公称压力有PN164064;公称通径范围DN25—300。适用流体温度由-60℃+450℃。泄漏量标准为级。流量特性有直线、抛物线两种。 

 

image.png 

 

二、主要零件材料及推荐使用温度范围

 

 

零件名称

材料

温度范围

 体
上下阀盖

HT200

-20~200℃

ZG230-450

-40~450℃

ZG1Cr18Ni9Ti

-250~550℃

阀芯、阀座、阀杆

1Cr18Ni9

-250~550℃

密封垫

橡胶石棉板


不锈钢缠绕垫


填料

聚四氟乙烯


上下膜盖

A3钢板


膜片

35CrMoA


35、A3


支架、顶盘

HT200


压缩弹簧

60Si2Mn


波纺薄膜

5806胶夹480D尼龙66网眼布


 

 

三、ZJHQ/ZJHX气动薄膜三通调节阀--主要技术参数

 

 

阀座直径mm

合流

25

32

40

50

65

80

100

125

150

200

250

300

分流

25

32

40

50

65

80

100

125

150

200

250

300

额定流量
系数kv

合流

8.5

13

21

34

52

85

125

210

340

535

800

1260

分流

25

32

40

50

65

85

125

210

340

535

800

1260

公称压力MPa

1.6 4.0 6.4

行 程mm

16

25

40

60

100

流量特性

直线

介质温度

-20~200、-40~+250(常温型)、-40~315(中温型)

法兰尺寸

铸铁法兰尺寸按JB79-59,铸钢法兰尺寸按JB79-59

法兰型式

法兰密封面型式按JB77-59,其中铸钢法兰按光滑式,铸钢法兰按凹式

阀体材质

HT200,ZG230-450、ZG1Cr18Ni9

阀芯材质

1Cr18Ni9

上阀盖型式

普通式(常温型),热片式(中温型)

可调比

30:1

气源接头

M16×1.5

 

 

四、ZJHQ/ZJHX气动薄膜三通调节阀--执行机构主要技术参数

 

 

型 号

ZHA(B)-3

ZHA(B)-4

ZHA(B)-5

ZHA(B)-6

有效面积cm2

400

630

1000

1600

行 程mm

16.25

40

60

1000

弹簧范围KPa

20~100;40~200、20~60、60~100、80~240

 

 

五、ZJHQ/ZJHX气动薄膜三通调节阀--性能指标

 

 

项目

不带定位器

带定位器

基本误差%

±6

±1.5

回差%

5

1.5

死区%

4

0.6

始终点偏差%

气关

始点

±2.5

±1.5

终点

±6.0

气开

始点

±6.0

终点

±2.5

额定行程偏差%

±2.5

允许泄漏量L/h

10-3×阀额定容量

 

注:一般均应带定位器

 

六、ZJHQ/ZJHX气动薄膜三通调节阀--允许压差

 

 

供气压力
 

弹簧压力
 

25

32

40

50

65

80

100

125

150

200

250

300

0.14MPa

20-100

1220

750

500

300

300

200

120

120

80

50

50

25

 

 

七、ZJHQ/ZJHX气动薄膜三通调节阀--可配附件

 

定位器 手轮机构 空气过滤减压器等

 

公通径(mm)

25

32

40

50

65

80

100

125

150

200

250

300

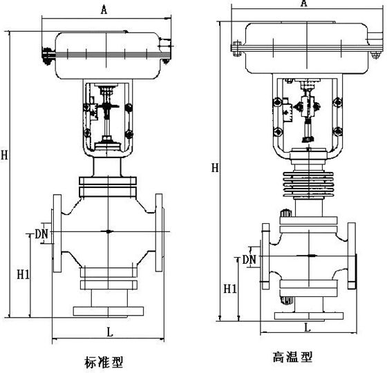
L(mm)

PN1.6MPa

185

200

220

250

275

300

350

410

450

550

635

720

PN4.0MPa

190

210

230

255

285

310

355

425

460

560

660

740

PN6.4MPa

200

210

235

265

295

320

370

440

475

570

670

770

H1(mm)

PN1.6MPa

140

150

160

180

200

220

220

256

278

322

540

612

PN4.0MPa

150

160

170

190

220

232

256

295

313

372

540

612

PN6.4MPa

160

170

180

200

220

242

266

300

318

382

540

612

H(mm)

普通型

435

441

465

480

584

585

575

762

772

792

1203

1234

散热片型

565

571

595

610

631

748

738

961

971

989

1525

1554

  D(mm)

285

360

470

  重量(KG)

72

75

81

88

135

158

190

262

322

450

550

600

 

注:公称通径小于80的分流阀采用同口径的合流阀代替

 

37db10f0b6258a4ba62242dd4c90605.png 

 

 

 

 


标签:

135 2453 5400

全国服务热线

Copyright © 2024 上海网野阀门制造有限公司 All Rights Reserved. 沪ICP备17008218号
上海网野阀门制造有限公司扫一扫咨询微信客服
在线客服
服务热线

服务热线

135 2453 5400

微信咨询
上海网野阀门制造有限公司
返回顶部