1.范围
本说明书包括了公称通径DN20mm、公称压力PN40法兰端连接的手动操作的高温闸阀。
2.用途
2.1本阀门在电力工业、石油炼制、石油化工、海洋石油、城市建设中的自来水工程和污水处理工程,化工等领域中应用较多,在管道上作启闭装置。
2.2阀门的材质的适用温度
2.2.1阀体采用2520,即310S耐热不锈钢,具有很好的抗氧化性、耐腐蚀性。310S不锈钢适于制作各种炉用构件、最高工作温度1200 ℃,连续使用温度1150 ℃。
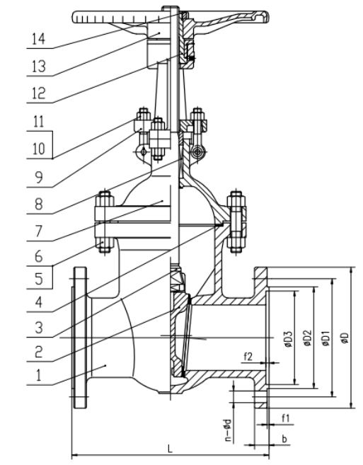
3.结构
3.1高温闸阀基本结构见图

4.操作
手动阀门用手转动手轮,使阀杆上升、下降,从而带动闸板上、下运动,开启、关闭阀门。
阀门上设有“开”“关”指示机构,顺时针方向旋转,闸板下降,指针指向“关”位置,阀门关闭。逆时针方向旋转,闸板上升,指针指向“开”位置,阀门开启。
5.保管、保养、安装和使用
5.1阀门应存放在干燥,通风的室内,阀门通道两端应堵塞。
5.2长期存放的阀门应定期检查,清除污物。应特别注意密封面的清洁,防密封面的损坏。
5.3安装前应仔细核对阀门标志是否与使用要求相符。
5.4安装前应检查阀门内腔和密封面,如有污垢,应使用清洁布擦拭干净。
5.5安装前、后管路内必须吹扫干净,保证管路内无残留物
5.6使用前,要做安全测试,让高温介质通过阀门测试1个小时后关闭,然后检测阀门的螺栓和密封面是否有问题。
5.7管路试压时,必须用加长杆手轮。关闭阀门且必须关闭到位(观察指针位置)。手轮顺时针方向旋转为关闭,逆时针方向旋转为开启。
5.8阀门应定期排污吹扫,防止结焦。
5.9阀门应经常(10~15天)注油润滑密封副及阀杆等运动副,减少开关扭矩及保护密封副。
6.可能发生的故障、原因及消除方法见表
可能发生故障 | 发生故障的原因 | 消除方法 |
填料渗漏 | 1.填料因使用过久或保存不妥而失效 | 1.更换填料 |
密封面间渗漏 | 1.密封面有污杂物附着 2.密封面损坏 | 1.将污杂物清除干净 2.重新加工修整或更换 |
阀体与阀盖连接处渗漏 | 1.连接螺栓紧固不均匀 2.法兰密封面损坏 3.垫片破裂货失效 | 1.均匀拧紧 2.重新修整 3.更换新垫片 |
7.保修
制造厂对阀门投入使用一年内负责保修,但不超过发货期18个月。在保修期内,因产品质量原因均可免费修理或更换零件。
扫一扫咨询微信客服