Q661F-16C 气动焊接浮动球直通流道软密封不锈钢(304、316)球阀

用途与性能规范Application and Performance Criterion
1.球阀广泛适用于食品、环保、冶金、石油化工等管路系统中。具有调节管路流量及截流等功能。
2.该阀根据阀体、密封材料的不同可适用于工作温度- 30一380℃的蒸汽、石油或一般腐蚀性流体介质管路上.作为控制介质的启闭机构。
1.Ball valve is widely applied in the piping systems offood, environmental protection, metallurgy, petrochemical
industry, etc, and has the function of adjusting or stopping the flow in the pipeline.
2.According to the differences of valve body and sealing material, this valve can be used in the pipeline for supplying steam, petroleum,general corrosive fluid or other medium at working temperature between 30 and 380t.
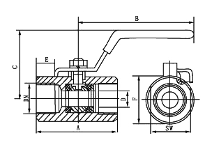
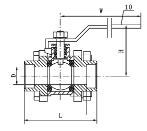
主要连接及外形尺寸
Main connection and external dimensions(mm)
一片式球阀 | 管螺纹 | A | B | C | D | 1/4″ | 60 | 110 | 56 | 8 | 3/8″ | 60 | 110 | 58 | 10 | 1/2″ | 60 | 110 | 58 | 11 | 3/4″ | 67.3 | 110 | 62 | 13.5 | 1″ | 73 | 110 | 68 | 17.5 | 11/4″ | 90 | 150 | 75 | 23 | 11/2″ | 97.5 | 150 | 83 | 25.4 | 2″ | 112 | 180 | 90 | 32.8 |
|
 二片式球阀 | 管螺纹 | D | L | H | W | 1/4″ | 10 | 57 | 50 | 120 | 3/8″ | 12 | 57 | 50 | 120 | 1/2″ | 15 | 63.5 | 52 | 120 | 3/4″ | 20 | 75 | 58 | 130 | 1″ | 25 | 89 | 70 | 154 | 11/4″ | 32 | 99 | 80 | 154 | 11/2″ | 40 | 118 | 88 | 185 | 2″ | 50 | 136 | 97 | 185 | 3″ | 80 | 190 | 150 | 204 |
|
三片式球阀 | 管螺纹 | D | L | H | W | 1/4″ | 10 | 65 | 48 | 120 | 3/8″ | 12 | 65 | 48 | 120 | 1/2″ | 15 | 67 | 54 | 120 | 3/4″ | 20 | 82 | 57 | 130 | 1″ | 25 | 91 | 72 | 154 | 11/4″ | 32 | 108 | 79 | 154 | 11/2″ | 40 | 129 | 81 | 185 | 2″ | 50 | 128 | 97 | 185 | 3″ | 80 | 206 |
|
|
|



主要外形及连接尺寸Q6(11、61、81、21)(F、N、P)-16~64Mani Outline and Connecting Flange Size
通径 Nominal size | 外形连接尺寸 Connecting Flange Size | 执行器型号 Actuator Model |
|
|
|
|
|
|
|
|
|
DN | in | d | L | G | L1 | L2 | D | L3 | C | L0 | H |
|
15 | 1/2 | 15 | 73 | 1/2″ | 81 | 85 | 34 | 175 | 22 | 140/178 | 62/75 | GTD52/GTE65 |
20 | 3/4 | 20 | 85 | 3/4″ | 92 | 100 | 50.5 | 190 | 28 | 140/178 | 62/75 | GTD52/GTE65 |
25 | 1 | 25 | 91 | 1″ | 103 | 115 | 50.5 | 200 | 33 | 140/214 | 62/91 | GTD52/GTE80 |
32 | 1 1/4 | 32 | 112 | 1 1/4″ | 123 | 130 | 50.5 | 230 | 40 | 164/214 | 75/91 | GTD65/GTE80 |
40 | 1 1/2 | 40 | 120 | 1 1/2″ | 136 | 150 | 50.5 |
|
| 164/246 | 75/101 | GTD65/GTE90 |
50 | 2 | 50 | 147 | 2″ | 155 | 180 | 64 |
|
| 190/295 | 91/112 | GTD80/GTE100 |
65 | 2 1/2 | 65 | 168 | 2 1/2″ | 180 | 230 | 77.5 |
|
| 210/340 | 101/127 | GTD90/GTE115 |
80 | 3 | 80 | 204 | 3″ | 220 | 260 | 91 |
|
| 247/398 | 112/139 | GTD100/GTE125 |
※注:系列球阀结构长度及连接法兰尺寸可根据用户要求设计制造。
※注:数据×××,×××分别是气动执行器双作用式,单作用式I弹簧复位)。
※注:*根据不同阀门扭矩、使用介质适配的执行器型号可能有所不同.相关尺寸随之变化。